• 無錫市尚德干燥設備有限公司

    CH系列槽型混合機

    廠家直銷、品質鋼材、品類齊全、支持定制、快速供貨

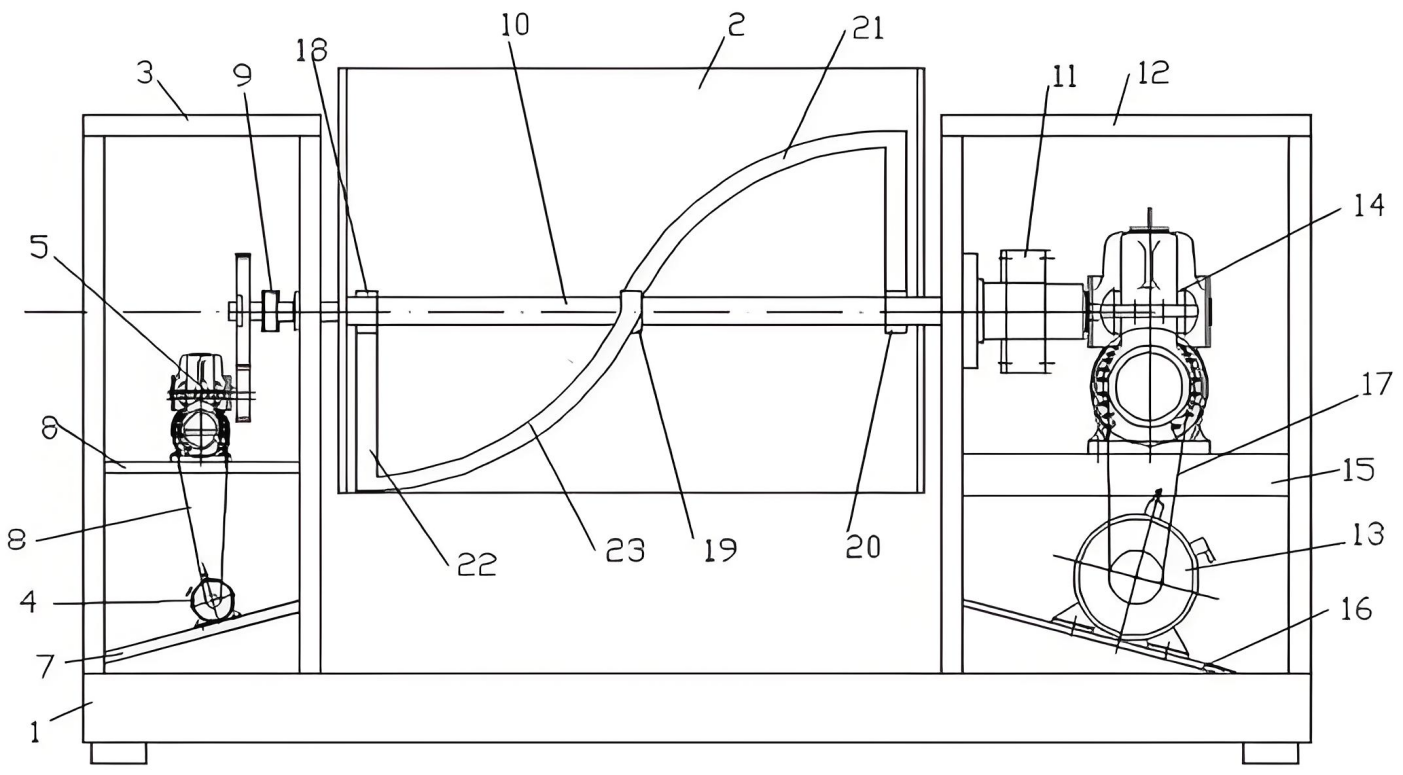
    用于混合粉狀或濕性物料,使不同比例主輔料混合均勻。本機與物料接觸處均采用不銹鋼制造,漿葉與桶身間隙小,混合無死角,攪拌軸兩端設有密封裝置,能防止物料外瀉,料斗采用按鈕點動控制,出料方便。廣泛適用于制藥、化工、食品等行業。

    咨詢熱線:

    劉總 13961737591
    • 歡迎來廠參觀考察
    • 一對一專員全程服務
    • 定制專屬行業方案
    CH系列槽型混合機
    • 60S

      60秒人工快速響應

    • 30M

      30分鐘給予技術答復

    • 24H

      24小時免費定制方案

    產品介紹

    用于混合粉狀或濕性物料,使不同比例主輔料混合均勻。本機與物料接觸處均采用不銹鋼制造,漿葉與桶身間隙小,混合無死角,攪拌軸兩端設有密封裝置,能防止物料外瀉,料斗采用按鈕點動控制,出料方便。廣泛適用于制藥、化工、食品等行業。

    圖片集錦

    1-25030415032B42.jpg

    基本參數

    1-250102095J12E.jpg

    性能特點

    • 高效混合

      采用先進設計,確保物料混合均勻,無死角。

    • 應用廣泛

      適用于多種行業及物料類型,滿足多樣化需求。

    • 操作簡便

      自動化控制,易于操作和維護。


    工藝流程圖

    1-250304150339195.png

    1-25030415033cA.png

    應用范圍

    尚德干燥工程竭誠為您服務
    www.ganbbb.com