廠家直銷、品質鋼材、品類齊全、支持定制、快速供貨
咨詢熱線:
劉總 13961737591
60秒人工快速響應
30分鐘給予技術答復
24小時免費定制方案
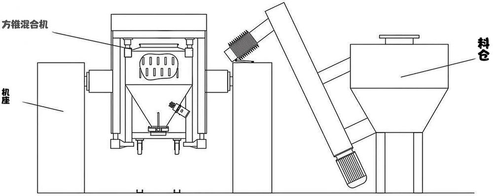
將物料裝入方錐形密閉混合桶內,料斗對稱的軸線與回轉軸軸線成一夾角,不同成份物料在密閉的料門中進行三維空間運動,產生強烈翻轉和擴散作用,達到混合效果。整機設計新穎、結構緊湊、外形美觀、混合均勻度達99%,體積裝料系數達0.8。


運轉平穩,控制方便
回轉高度低、運轉平穩;采用變頻調速,控制方便,性能可靠;筒體內外壁均經表面拋光,無死角、易出料、易清洗。
結構支撐,操作便捷
采用雙機箱支撐結構,具有剎車定位機構及停機定位傳感系統,能確保每次設定的混合周期結束前3轉自動減速—停機一剎車鎖緊,停機定位準確;采用變頻調速、人機界面操作,畫面清晰,操作便捷;內置自動、手動可切換控制模式。
定制選配
可根據用戶要求,選配真空上料機以及篩分機,實現前后道工序的銜接。

尚德干燥工程竭誠為您服務